Uma vez gerada a RF, quase sempre a intensidade ou potência do sinal não é suficiente para a maioria das aplicações. Torna-se então necessário amplificar o sinal.

Este artigo faz parte do livro Transmissores e Geradores de RF de Apollon Fanzeres de 1985 que reproduzimos na totalidade para download neste site, pois a parte teórica ainda é atual e alguns circuitos ainda podem ser reproduzidos com facilidade.

As amplificações em RF são quase sempre efetuadas com circuitos tipo C. Em transmissão de SSB ou banda lateral suprimida usam-se amplificadores classe B e são designados de amplificadores lineares. No passado, construir-se um amplificador linear acima de algumas dezenas de watts era assunto problemático, mas hoje, graças ao maior conhecimento do assunto e a componentes com desempenho especial, generaliza-se a tendência de gerar-se a RF em baixo nível e depois fazer o sinal passar por um amplificador linear, para atingir a potência de saída desejada.

Porém entre o gerador do sinal (oscilador) e o estágio final, podem existir estágios, que se bem forneçam uma certa amplificação, não são designados como amplificadores. Temos, pois, os circuitos separadores (buffer), os multiplicadores de frequência e os excitadores. Os separadores são utilizados para isolar o circuito oscilador e o estágio final para que não ocorra uma falta de estabilidade quando, sintonizando-se o estágio final, este drenasse energia do estágio anterior. Serve, pois, o separador (buffer) como estágio tampão. Os circuitos osciladores têm maior estabilidade quando operam em baixa potência e também em frequências menos elevadas. Para se operar nas faixas de frequências altas é preferível utilizar um circuito gerador ou oscilador em frequência mais baixa e, através de um estágio subsequente, multiplicar a frequência gerada, para obter a frequência de saída. Esta é a função dos multiplicadores de frequência.

Como sempre há uma perda, os multiplicadores são projetados para introduzir certo ganho nesta função multiplicativa e por isso atuam de certo modo como amplificadores.

Algumas válvulas dos estágios finais (e também transistores) necessitam receber um sinal de certa intensidade para que operem em pleno regime. Neste caso, o sinal gerado, depois de passar por um estágio separador ou não e depois de ter sua frequência fundamental multiplicada ou não, é injetado em um circuito que pré-amplifica ou serve para excitar o estágio final.

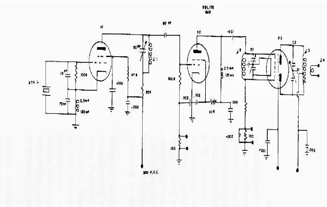
Na figura 17 temos um exemplo de um transmissor valvular que utiliza duas válvulas pentodos como osciladora ou geradora de RF e excitadora, havendo no estágio final uma válvula de potência duplo tríodo tipo 829 B, que continua a merecer a preferência dos veteranos que optam por válvulas quando operando em frequências de 50 MHz.

V1 – Pentodo recepção

V2 – Pentodo recepção

V3 – 829 - B

C1 – Duplo 35 pF c/ seção

C2 – Duplo 50 pF c/ seção

 

 

 

Figura 1 - Transmissor valvular.
Figura 1 - Transmissor valvular. | Clique na imagem para ampliar |

 

 

A válvula V2 atua como separadora e também multiplicadora. Na tabela IV temos os dados para construção das bobinas Li, L2, L3 e L4 para as faixas de 10 e 6 metros.

A função do último estágio de um transmissor é fornecer ao sistema irradiante a maior potência possível dentro das características dos componentes utilizados.

 


| Clique na imagem para ampliar |

 

 

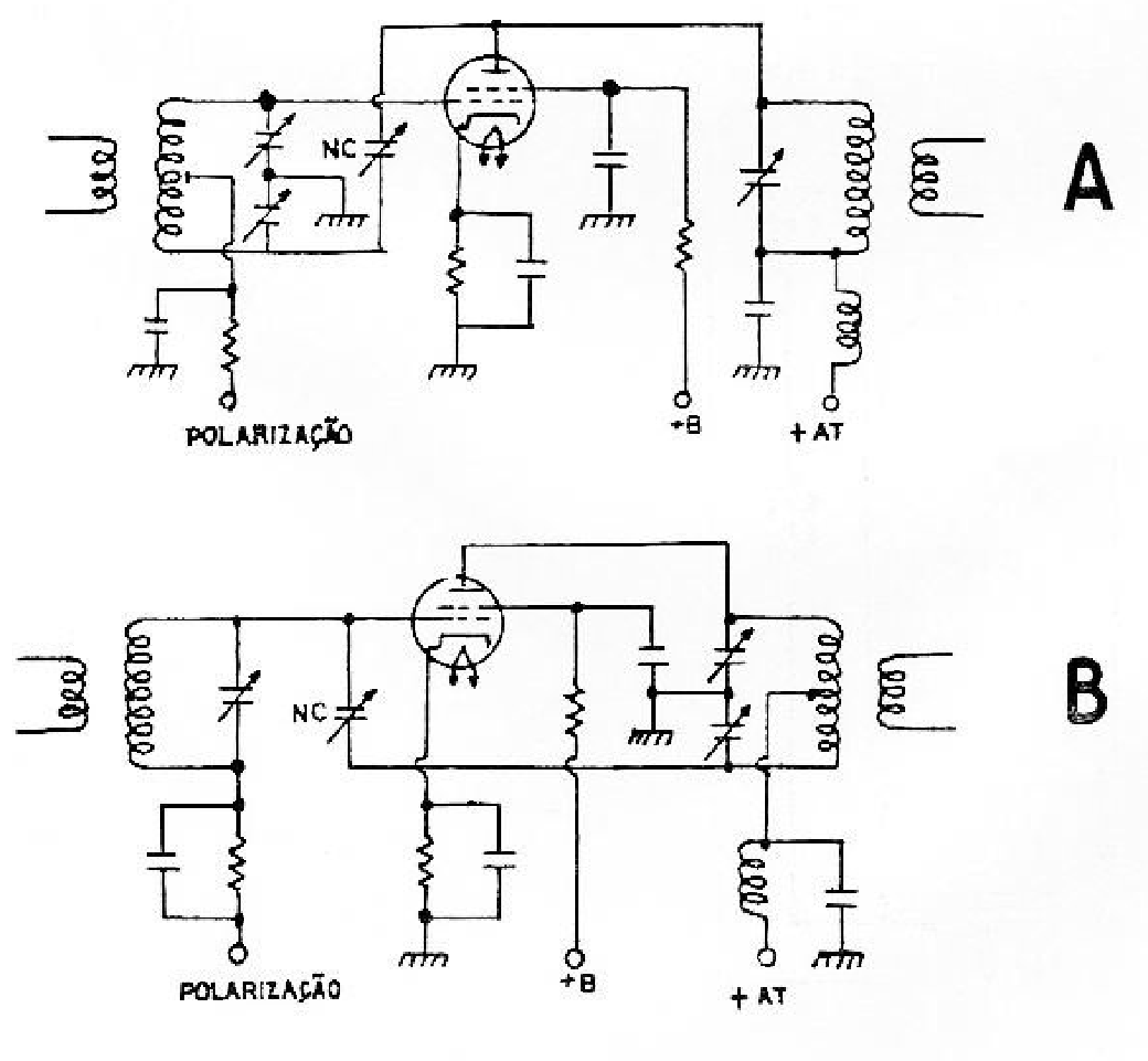
Quase sempre, nos estágios finais, são utilizadas válvulas triodos ou tetrodos. Os triodos necessitam maior excitação que os tetrodos. Também os tetrodos dispensam neutralização até frequências de 30 MHz, se na construção foram tomados cuidados. Nos estágios finais, a disposição em circuito classe C assegura que quase 65 por cento da potência de entrada é transformada em RF. Por potência de entrada entende-se a corrente anódica multiplicada pela tensão anódica. O rendimento em classe B (linear) é da ordem de 35 por cento. O estágio amplificador de RF ou, como é comumente chamado, estágio de saída pode se constituir de uma ou mais válvulas. A disposição pode ser em paralelo ou simétrica (push-pull). Quando as válvulas são ligadas em paralelo, os elementos ou eletrodos são ligados em conjunto (placa com placa, grade com grade etc.). Quando as válvulas são ligadas em disposição simétrica, em frequências acima de 30 MHz, os valores de C para os circuitos do tanque podem ser bem pequenos, o que não sucede com válvulas ligadas em paralelo, porque neste caso as impedâncias de entrada e saída ficam muito reduzidas e necessita-se de um alto valor de C para manter uma figura de mérito (Q) adequada. Na figura 3 temos uma disposição em paralelo do estágio final e, na figura 4 uma disposição simétrica.

 

Figura 3 – Disposição em paralelo
Figura 3 – Disposição em paralelo | Clique na imagem para ampliar |

 

 

 

Figura 4 - Disposição simétrica.
Figura 4 - Disposição simétrica. | Clique na imagem para ampliar |

 

 

 

Neutralização

 

Devido às dimensões de algumas válvulas transmissoras e também à potência existente, sucede que parte da energia de saída pode surgir no circuito de entrada e então o amplificador entra em oscilação. Este efeito, que é desejável em um gerador ou oscilador de RF, é inaceitável em um estágio amplificador. Mesmo quando a energia que se intromete na entrada não é suficiente para causar uma oscilação, pode, todavia, ocasionar, uma instabilidade indesejável, que produz explosões ou momentos de oscilações, durante picos de excitação. Também esta instabilidade pode ocasionar frequências espúrias que produzem interferências dentro e fora da faixa de amadores. O leitor deve ter sempre em mente o seguinte: qualquer quantidade de energia, por menor que seja, desviada da energia desejada à saída é potência perdida, e, além de reduzir a eficiência do equipamento, produz interferências indesejáveis.

A capacitância intereletródica entre grade e placa pode causar retroalimentação. A capacitância entre grade e placa nas válvulas pentodos é menor que nos triodos, devido ao efeito de blindagem exercida pelas grades auxiliar (screen) e supressora. Quando a válvula tem a conexão de placa no topo (figura 5) é possível uma boa isolação física entre entrada e saída, dependendo de uma boa disposição dos componentes. Com o uso de pentodos, até frequências de 30 MHz, geralmente não há problemas de retroalimentação. Com triodos sempre existem destes problemas em RF, mas não são insuperáveis. A neutralização consiste em aplicar parte da RF de saída, fora de fase, ao circuito de entrada a fim de cancelar os efeitos da retroalimentação positiva.

 

 

Figura 5 - Válvula com conexão de placa de topo.
Figura 5 - Válvula com conexão de placa de topo. | Clique na imagem para ampliar |

 

 

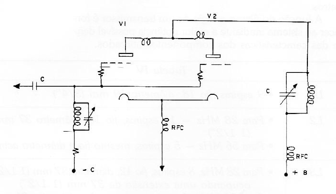
O processo usual é utilizar uma bobina de tanque balanceada e ligar um capacitor no extremo oposto a alimentação, como se vê nos circuitos das figuras 6A e 6B. Quando o valor do capacitor é igual à capacitância intereletródica da válvula, o estágio está neutralizado.

 

Figuras 6A e 6B - Ligação do capacitor.
Figuras 6A e 6B - Ligação do capacitor. | Clique na imagem para ampliar |

 

 

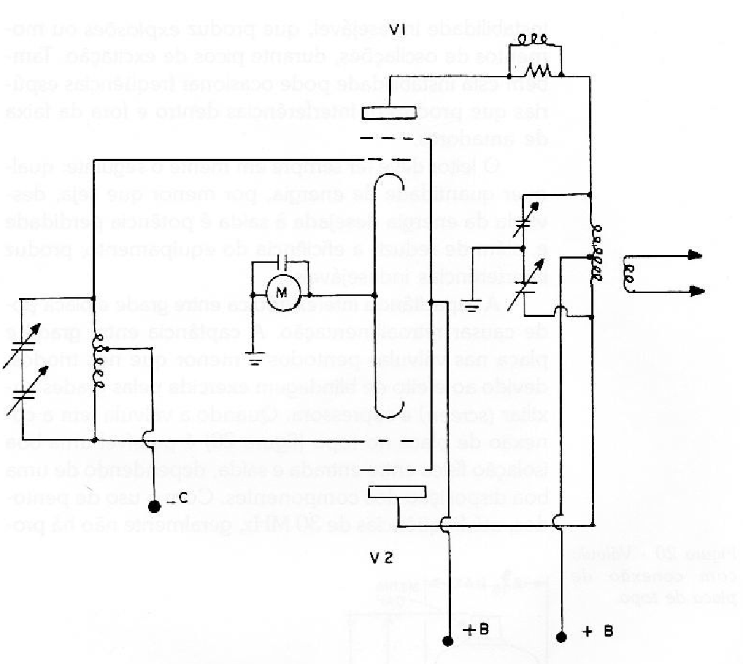
Para se ajustar corretamente a neutralização, desliga-se a alimentação positiva da placa do estágio, e a conexão deste será levada à terra através de um capacitor de passo (0,01 mfd, cerâmica). Aplica-se a excitação do estágio precedente ao amplificador de RF e, com um indicador sensível de RF, ajusta-se o capacitor de neutralização até que não exista nenhuma indicação de presença de RF na bobina tanque (figura 7).

 

 

Figura 7 - Bobina tanque.
Figura 7 - Bobina tanque. | Clique na imagem para ampliar |

 

Os estágios amplificadores podem ser considerados de saída, só que têm como característica o acoplamento para um circuito que leva aos irradiadores ou antenas. No próximo capítulo veremos com mais detalhes circuitos amplificadores de RF, porém com características típicas para serem acoplados a irradiadores ou antenas.

 

 

NO YOUTUBE


NOSSO PODCAST