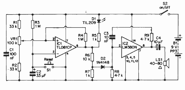
Encontrado em documentação inglesa, este timer produz um sinal de áudio no final da temporização. O tempo é ajustado em VR1 dependendo do capacitor C2.

Encontrado em documentação inglesa, este timer produz um sinal de áudio no final da temporização. O tempo é ajustado em VR1 dependendo do capacitor C2.
