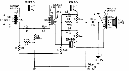
Este circuito de amplificador push-pull classe B com algumas centenas de miliwatts de potência foi encontrado numa publicação americana dos anos 50. Os acoplamentos são feitos por transformador.

Este circuito de amplificador push-pull classe B com algumas centenas de miliwatts de potência foi encontrado numa publicação americana dos anos 50. Os acoplamentos são feitos por transformador.
