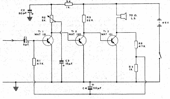
Esta etapa amplificadora de áudio foi encontrada numa publicação de 1963. O circuito foi projetado para usar transistores de germânio. O fone é de 70 ohms.

Esta etapa amplificadora de áudio foi encontrada numa publicação de 1963. O circuito foi projetado para usar transistores de germânio. O fone é de 70 ohms.
