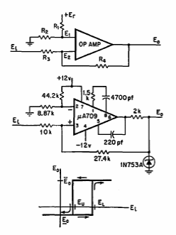
Sugerido por uma documentação americana dos anos 60, esse circuito dota um amplificador operacional de histerese, conforme curva dada junto ao diagrama.

Sugerido por uma documentação americana dos anos 60, esse circuito dota um amplificador operacional de histerese, conforme curva dada junto ao diagrama.
