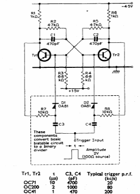
Encontrado no manual de transistores da Mullard de 1960, este circuito tem os componentes que dependem dos transistores usados, conforme tabela junto ao diagrama.

Encontrado no manual de transistores da Mullard de 1960, este circuito tem os componentes que dependem dos transistores usados, conforme tabela junto ao diagrama.
