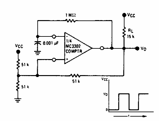
Esta configuração pode ser encontrada em diversos pontos desta seção. Esta foi obtida numa documentação antiga, fazendo uso de um amplificador operacional da época.

Esta configuração pode ser encontrada em diversos pontos desta seção. Esta foi obtida numa documentação antiga, fazendo uso de um amplificador operacional da época.
