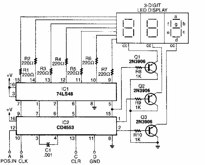
Este circuito foi encontrado numa Electronics Now dos anos 80. O circuito é para displays de 3 dígitos. O circuito é TTL.

 


| Clique na imagem para ampliar |

 

 

 

NO YOUTUBE


NOSSO PODCAST