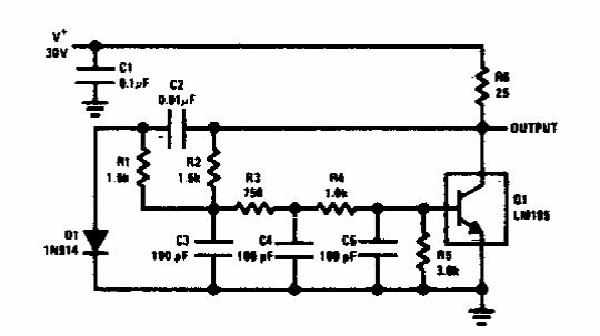
Este oscilador foi encontrado no manual do próprio componente principal. O circuito é um oscilador RC de potência para a frequência de 1 MHz.

Este oscilador foi encontrado no manual do próprio componente principal. O circuito é um oscilador RC de potência para a frequência de 1 MHz.
