Monitor de temperatura e velocidade do ar CIR20733S CB21385E (CIR20829)
Detalhes
Escrito por: Newton C. Braga
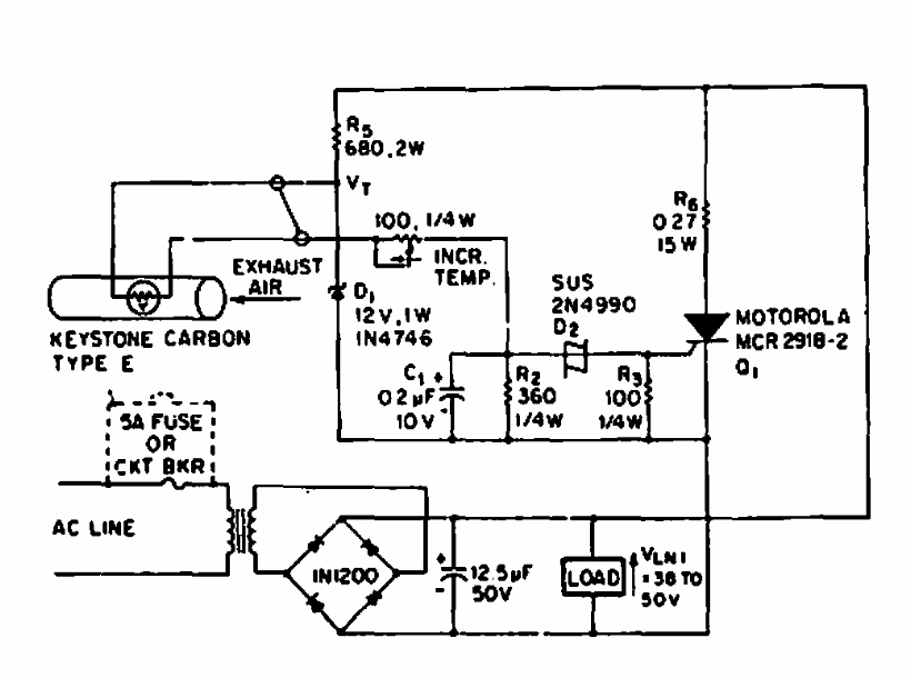
Este circuito usa como sensor um filamento aquecido. Com a corrente de ar ele muda de resistência e o circuito detecta. O circuito é de uma EEE de 1969.