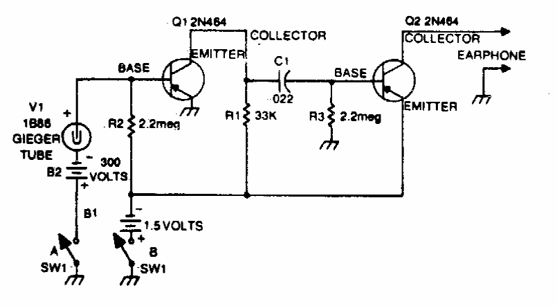
Este circuito detector de radiação com válvula Geiger foi encontrado em documentação dos anos 80. Os transistores são de uso geral. A bateria de alta tensão para a válvula Geiger pode ser substituída por um circuito inversor de tensão.
Este circuito detector de radiação com válvula Geiger foi encontrado em documentação dos anos 80. Os transistores são de uso geral. A bateria de alta tensão para a válvula Geiger pode ser substituída por um circuito inversor de tensão.