Chave de passagem por zero CIR20715S CB21367E (CIR20811)
Detalhes
Escrito por: Newton C. Braga
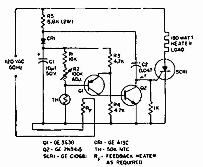
A finalidade deste circuito encontrado num manual de SCRs da GE de 1967, é controlar um elemento de aquecimento. O SCR deve ter corrente de acordo com a carga controlada.