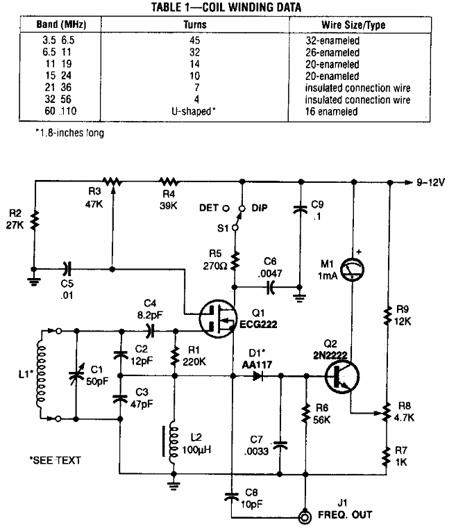
Este circuito foi encontrado numa Popular Electronics dos anos 90. Ele consiste na variação de estado sólido do conhecido grid-dip meter. O MOSFET é um componente não muito fácil de obter atualmente.
Este circuito foi encontrado numa Popular Electronics dos anos 90. Ele consiste na variação de estado sólido do conhecido grid-dip meter. O MOSFET é um componente não muito fácil de obter atualmente.