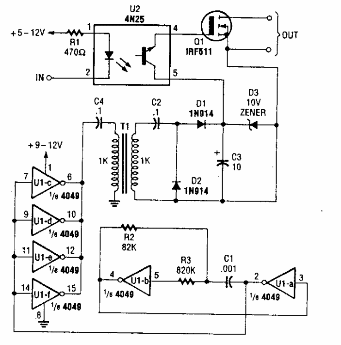
Este circuito com chave disparadora foi encontrado numa Popular Electronics dos anos 90. A frequência depende basicamente de C1 e R1.

 


| Clique na imagem para ampliar |

 

 

 

NO YOUTUBE


NOSSO PODCAST