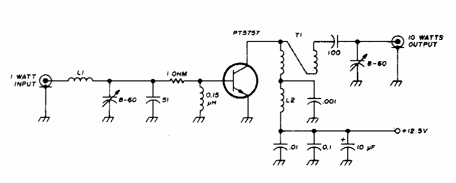
Este circuito foi encontrado numa documentação dos anos 70. O transistor é da época. L1 tem 4 espiras de fio 20 em forma de 3/32 polegadas e L1 tem 10 espiras do mesmo fio,
Este circuito foi encontrado numa documentação dos anos 70. O transistor é da época. L1 tem 4 espiras de fio 20 em forma de 3/32 polegadas e L1 tem 10 espiras do mesmo fio,