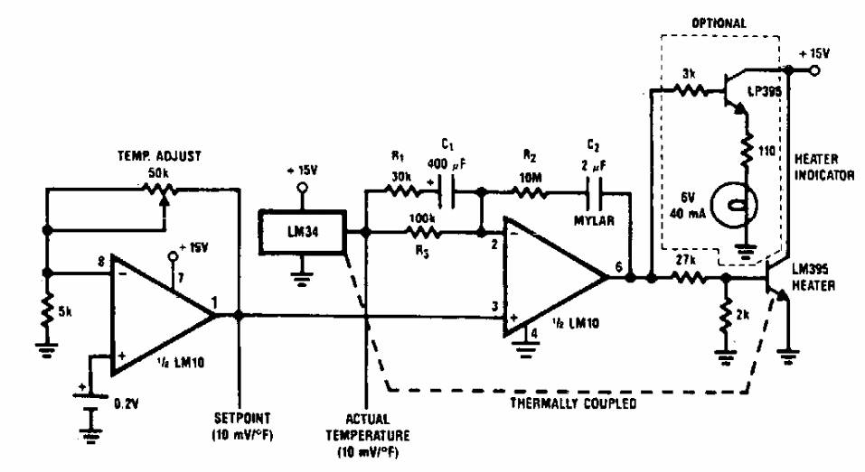
Encontrado numa documentação da National Semiconductor dos anos 90, este circuito pode ser implementado com componentes equivalentes modernos.

 


| Clique na imagem para ampliar |

 

 

 

NO YOUTUBE


NOSSO PODCAST