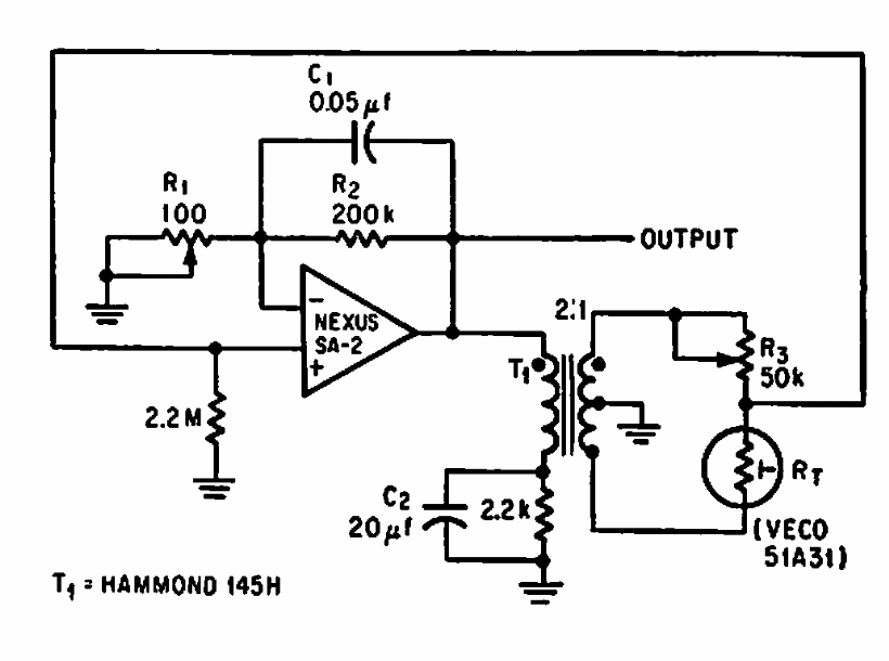
Encontramos este circuito numa antiga documentação americana. O amplificador operacional é da época e a saída usada para controlar um SCR ou outro controle de potência.

 


| Clique na imagem para ampliar |

 

 

 

NO YOUTUBE


NOSSO PODCAST