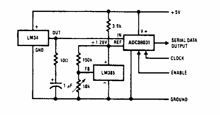
Este circuito dos anos 90, encontrado em documentação da National Semiconductor usa componentes da época.

 


| Clique na imagem para ampliar |

 

 

 

NO YOUTUBE


NOSSO PODCAST