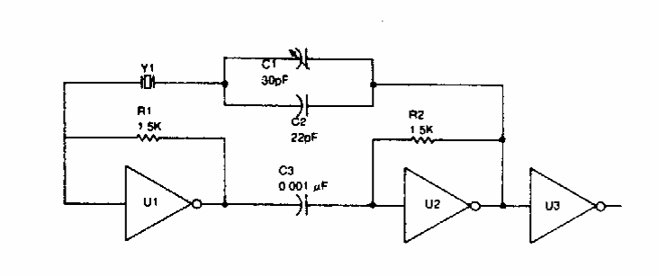
Este circuito deve ser alimentado por uma tensão de 5 V. A frequência depende dos componentes usados e do cristal. O circuito vale para inversores CMOS com alterações dos valores dos componentes.

 

 

 


| Clique na imagem para ampliar |

 

 

 

NO YOUTUBE


NOSSO PODCAST