Circuito de elevar ao quadrado CIR20567S CB21032E (CIR20471)
Detalhes
Escrito por: Newton C. Braga
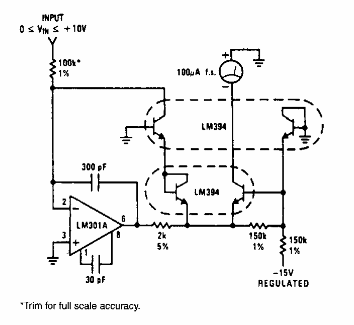
Neste circuito dos anos 90, encontrado num manual da National Semiconductor, a tensão de saída é o quadrado da tensão de entrada. Os componentes são da época.