Transmissor para diodo LASER CIR20547S CB21007E (CIR20447)
Detalhes
Escrito por: Newton C. Braga
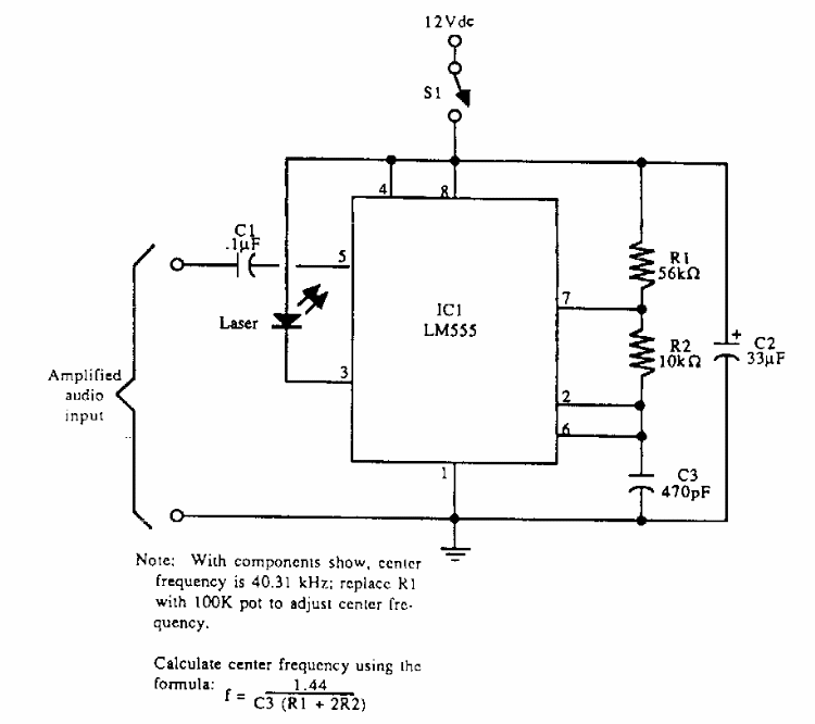
Este circuito modulador foi encontrado numa documentação americana dos anos 90. O circuito usa um diodo LASER de baixa potência. A alimentação é feita com 12 V.