Receptor de AM de dois integrados CIR21743S CB21208E (CIR20651)
Detalhes
Escrito por: Newton C. Braga
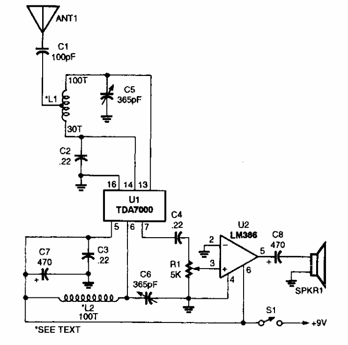
Este rádio simples foi encontrado numa Popular Electronics dos anos 90. L1 e L2 tem 100 espiras em núcleo toroidal e L1 tem uma tomada na trigésima espira.