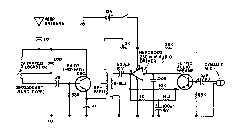
Este pequeno transmissor opera na faixa de ondas médias. T1 é um transformador de saída para rádios transistorizados. O operacional admite equivalente moderno. O circuito é de documentação dos anos 80.
Este pequeno transmissor opera na faixa de ondas médias. T1 é um transformador de saída para rádios transistorizados. O operacional admite equivalente moderno. O circuito é de documentação dos anos 80.