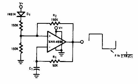
Indicado para ser usado como clock, este circuito foi encontrado em documentação antiga. O operacional da época pode ser substituído por um equivalente moderno.

Indicado para ser usado como clock, este circuito foi encontrado em documentação antiga. O operacional da época pode ser substituído por um equivalente moderno.
