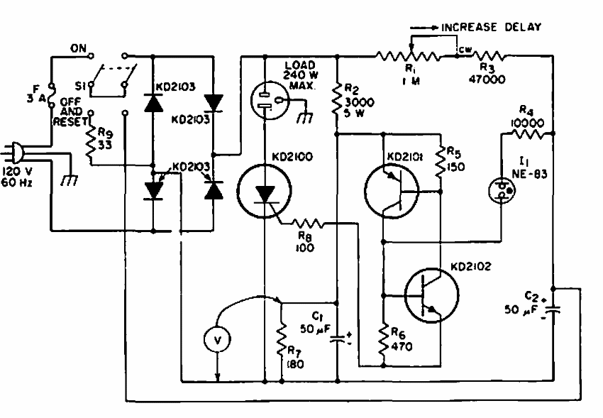
Este timer pode controlar cargas até 240 W. Encontramos numa documentação da RCA de 1967. Os componentes principais admitem equivalentes modernos.

 


| Clique na imagem para ampliar |

 

 

 

NO YOUTUBE


NOSSO PODCAST