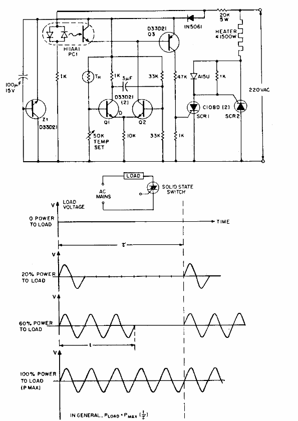
Este circuito foi obtido numa documentação da General Electric dos anos 90. O circuito consiste numa chave de passagem por zero que aciona dois SCRs que tem por carga um elemento de aquecimento.

Este circuito foi obtido numa documentação da General Electric dos anos 90. O circuito consiste numa chave de passagem por zero que aciona dois SCRs que tem por carga um elemento de aquecimento.
