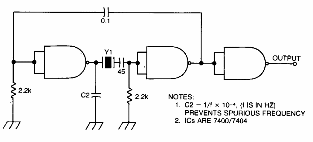
Este circuito pode ser usado como shield e em outras aplicações lógicas. Esta configuração pode ser encontrada em outros pontos deste site.

 

 


| Clique na imagem para ampliar |

 

 

 

NO YOUTUBE


NOSSO PODCAST