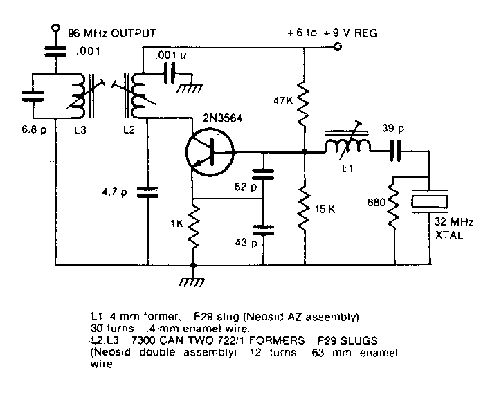
Encontrado numa documentação americana antiga, este circuito pode usar cristais entre 27,5 e 33 MHz operando no terceiro harmônico. O transistor admite equivalente.

 


| Clique na imagem para ampliar |

 

 

 

NO YOUTUBE


NOSSO PODCAST