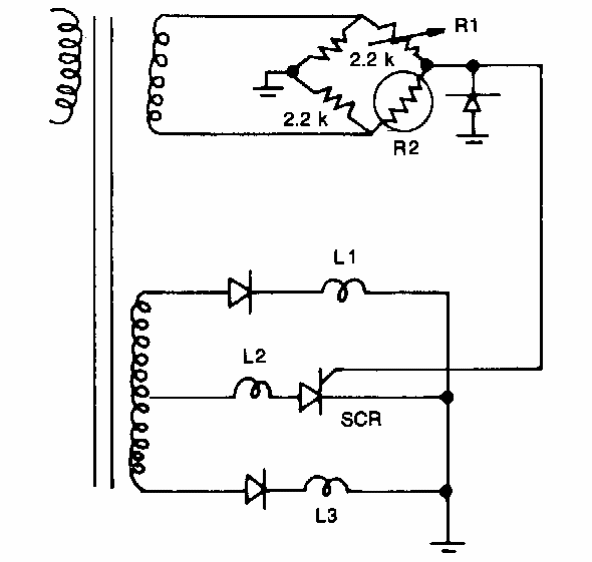
Este circuito com relé foi encontrado numa documentação americana dos anos 90. Os enrolamentos do transformador são de acordo com a tensão de disparo dos relés. O sensor é um NTC de 2,2 k.

Este circuito com relé foi encontrado numa documentação americana dos anos 90. Os enrolamentos do transformador são de acordo com a tensão de disparo dos relés. O sensor é um NTC de 2,2 k.
