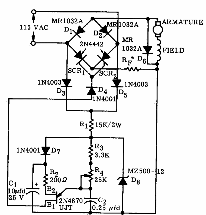
Encontrado em documentação dos anos 70, este circuito faz uso de SCRs da época. Podem ser usados tipos equivalentes modernos que devem ser dotados de dissipadores de calor. SCRs e diodos devem ter correntes de acordo com o motor controlado.
Encontrado em documentação dos anos 70, este circuito faz uso de SCRs da época. Podem ser usados tipos equivalentes modernos que devem ser dotados de dissipadores de calor. SCRs e diodos devem ter correntes de acordo com o motor controlado.