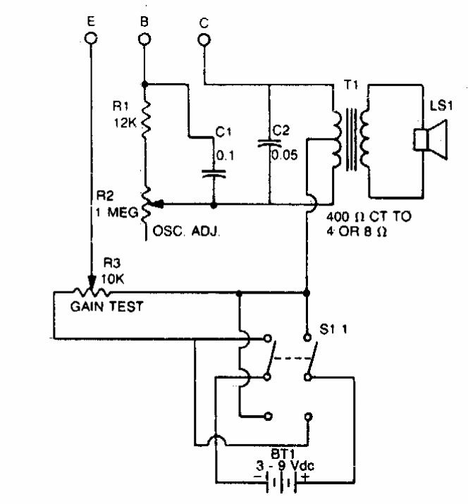
Com este circuito é possível fazer a seleção de transistores e seu teste conforme o ganho. O circuito consiste num oscilador. O transformador é do tipo encontrado em rádios transistorizados antigos.

 


| Clique na imagem para ampliar |

 

 

NO YOUTUBE


NOSSO PODCAST