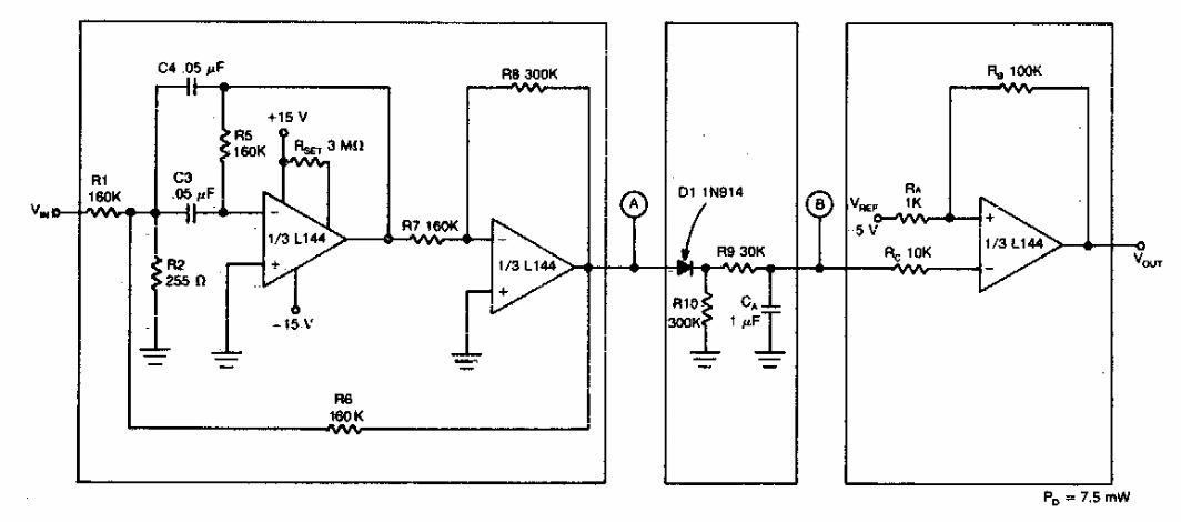
Encontrado em documentação americana dos anos 80, este circuito opera com sinais de 5 V precisando de 55 ciclos de 500 Hz para p reconhecimento do tom. O circuito pode ser adaptado para operar com outras frequências.
Encontrado em documentação americana dos anos 80, este circuito opera com sinais de 5 V precisando de 55 ciclos de 500 Hz para p reconhecimento do tom. O circuito pode ser adaptado para operar com outras frequências.