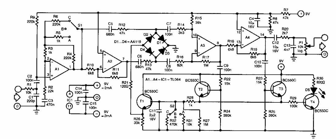
Este circuito foi encontrado numa Elektor dos anos 90. Trata-se de circuito que gera diversos tipos de efeitos sonoros. Os componentes usados são ainda comuns em nossos dias.
Este circuito foi encontrado numa Elektor dos anos 90. Trata-se de circuito que gera diversos tipos de efeitos sonoros. Os componentes usados são ainda comuns em nossos dias.