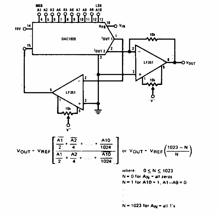
Encontramos este circuito numa documentação americana dos anos 70. Os circuitos integrados são da época. O circuito pode ser aplicado a componentes equivalentes modernos.

 

 


| Clique na imagem para ampliar |

 

 

NO YOUTUBE


NOSSO PODCAST