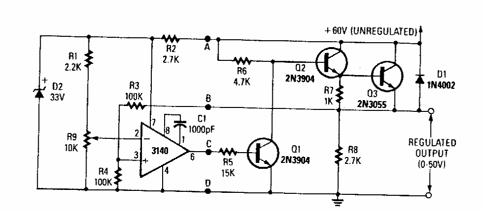
Encontrado numa Radio Electronics dos anos 90, este circuito pode fornecer correntes de alguns ampères, de acordo com o transistor de potência. O transistor de potência deve ser dotado de dissipador de calor.
Encontrado numa Radio Electronics dos anos 90, este circuito pode fornecer correntes de alguns ampères, de acordo com o transistor de potência. O transistor de potência deve ser dotado de dissipador de calor.