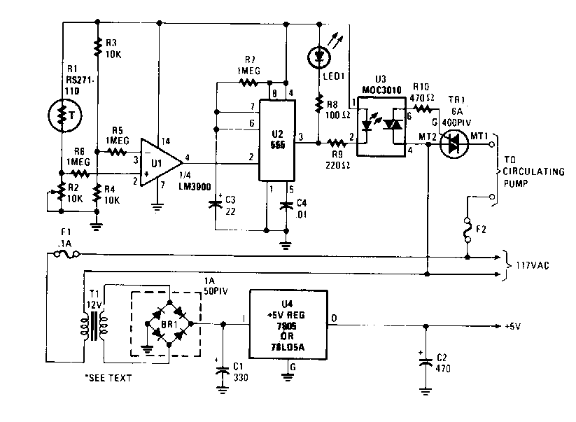
Este circuito foi encontrado numa Popular Electronics dos anos 90. Ele se baseia em componentes ainda comuns em nossos dias e num acoplador óptico para o triac. O sensor é um termistor.
Este circuito foi encontrado numa Popular Electronics dos anos 90. Ele se baseia em componentes ainda comuns em nossos dias e num acoplador óptico para o triac. O sensor é um termistor.