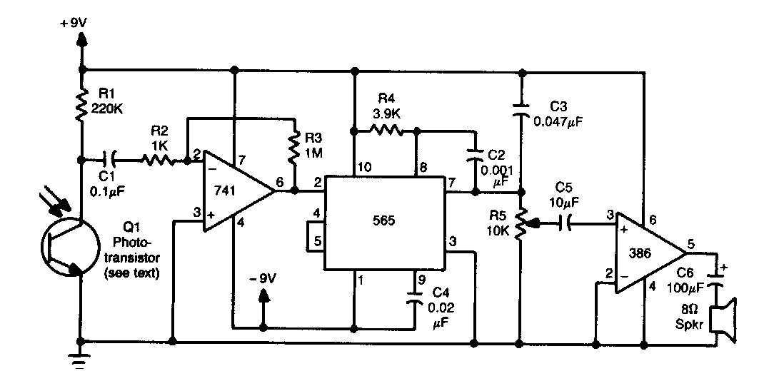
Este circuito foi encontrado numa Popular Electronics dos anos 80. O sensor pode ser qualquer fototransistor. O circuito é indicado para um link de áudio modulado em pulsos.
Este circuito foi encontrado numa Popular Electronics dos anos 80. O sensor pode ser qualquer fototransistor. O circuito é indicado para um link de áudio modulado em pulsos.