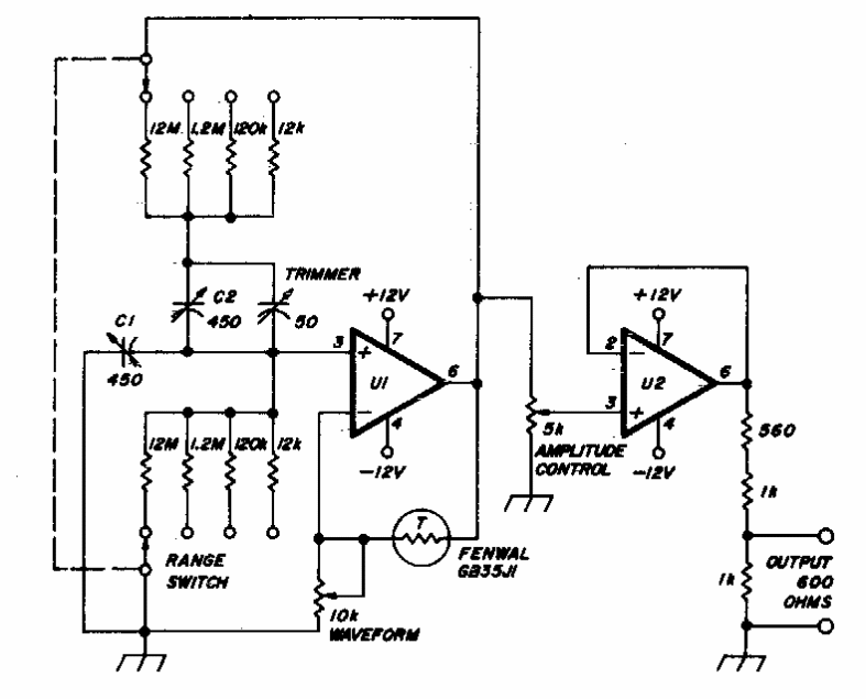
Este circuito tem uma faixa de frequências de 30 Hz a 100 kHz com um sinal de saída de 1 Vrms. Encontramos em documentação americana dos anos 70. Os circuitos integrados são CA3140.
Este circuito tem uma faixa de frequências de 30 Hz a 100 kHz com um sinal de saída de 1 Vrms. Encontramos em documentação americana dos anos 70. Os circuitos integrados são CA3140.