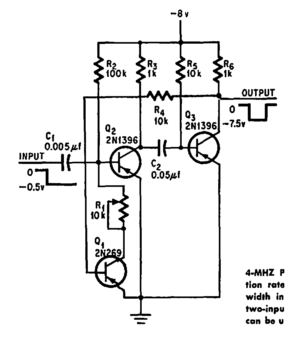
Este circuito foi encontrado numa documentação americana de 1969. Ele serve para o disparo de circuitos fornecendo um sinal de 7.5 V na saída a partir de pulsos de 500 mV.

 


| Clique na imagem para ampliar |

 

 

NO YOUTUBE


NOSSO PODCAST