Amplificador de uso geral CIR15995S CB8950E (CIR18968)
Detalhes
Escrito por: Newton C. Braga
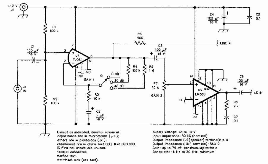
Este circuito foi obtido numa revista QST dos anos 90. O circuito faz uso de componentes pouco comuns em nossos dias. O circuito inclui uma chave seletora de ganhos.