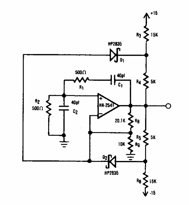
Encontrado numa documentação da Harris dos anos 90, este circuito usa um zener como estabilizador. Os sinais gerados com os componentes usados são senoidais de 40 MHz.

Encontrado numa documentação da Harris dos anos 90, este circuito usa um zener como estabilizador. Os sinais gerados com os componentes usados são senoidais de 40 MHz.
