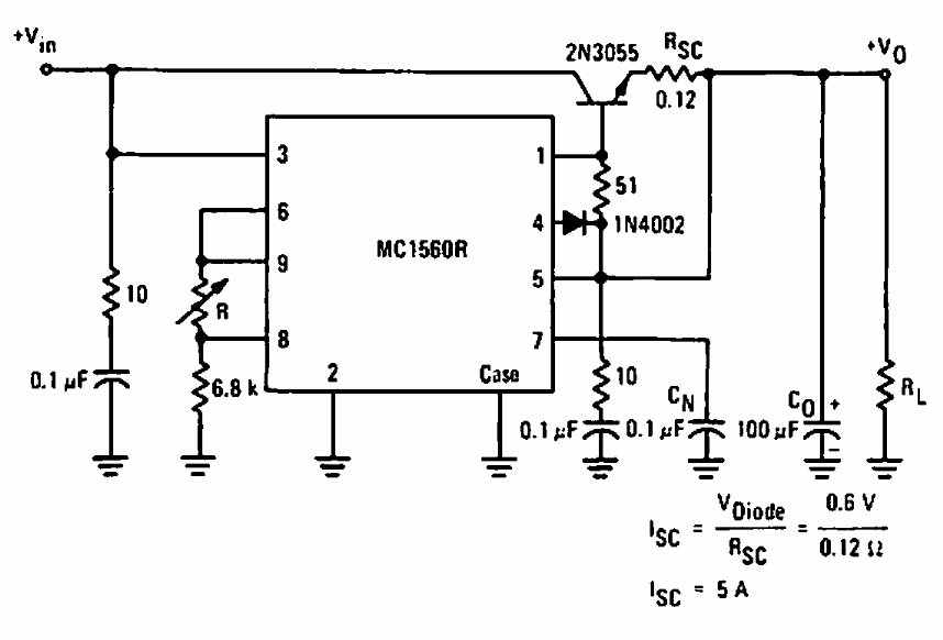
Este circuito regulador é de uma documentação da Motorola de 1969. Ele faz uso de um regulador integrado da época. Com o transistor indicado pode-se obter uma corrente até 5 A.

 


| Clique na imagem para ampliar |

 

 

 

NO YOUTUBE


NOSSO PODCAST