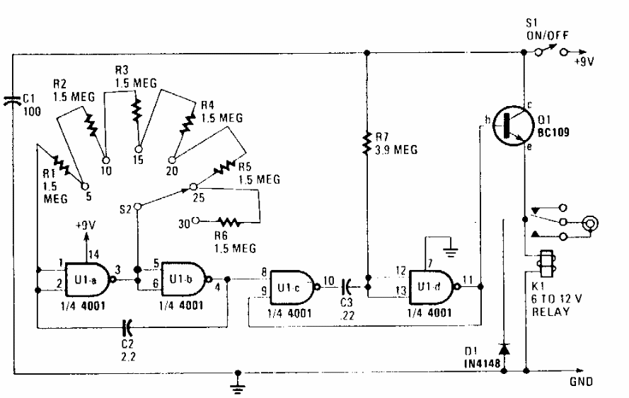
Este antigo circuito de controle de projetor de slides foi encontrado numa Hands On dos anos 80. O circuito usa componentes modernos podendo ser usado em outras aplicações.

 


| Clique na imagem para ampliar |

 

 

 

NO YOUTUBE


NOSSO PODCAST