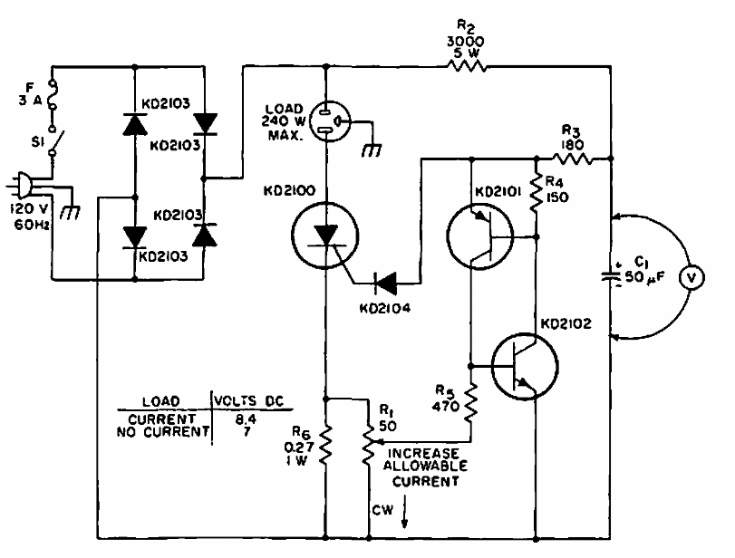
Este circuito foi encontrado numa publicação da RCA de 1967. O circuito faz uso de componentes da época, podendo ser usado com cargas até 240 W.

 


| Clique na imagem para ampliar |

 

 

 

NO YOUTUBE


NOSSO PODCAST