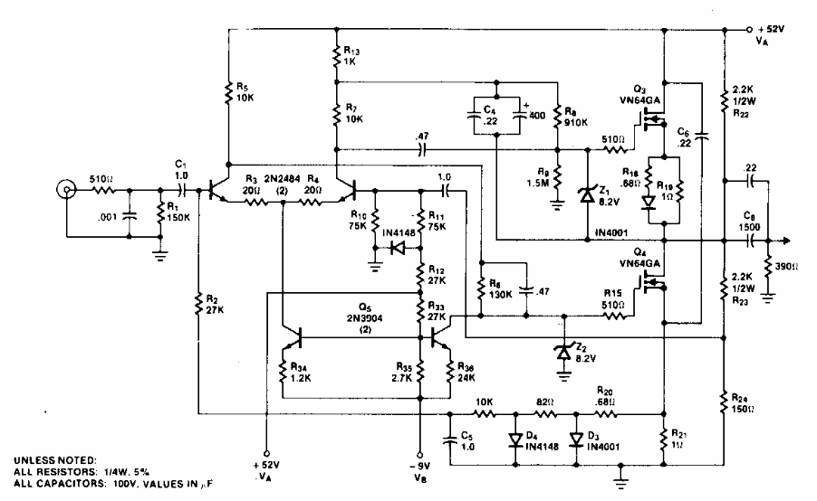
Este circuito com MOSFETs de potência foi encontrado em documentação da Siliconix dos anos 80. MOSFETs equivalentes podem ser usados, assim como os demais transistores. Observe a fonte simétrica.
Este circuito com MOSFETs de potência foi encontrado em documentação da Siliconix dos anos 80. MOSFETs equivalentes podem ser usados, assim como os demais transistores. Observe a fonte simétrica.