Amplificador para walkman CIR15590S CB8461E (CIR18553)
Detalhes
Escrito por: Newton C. Braga
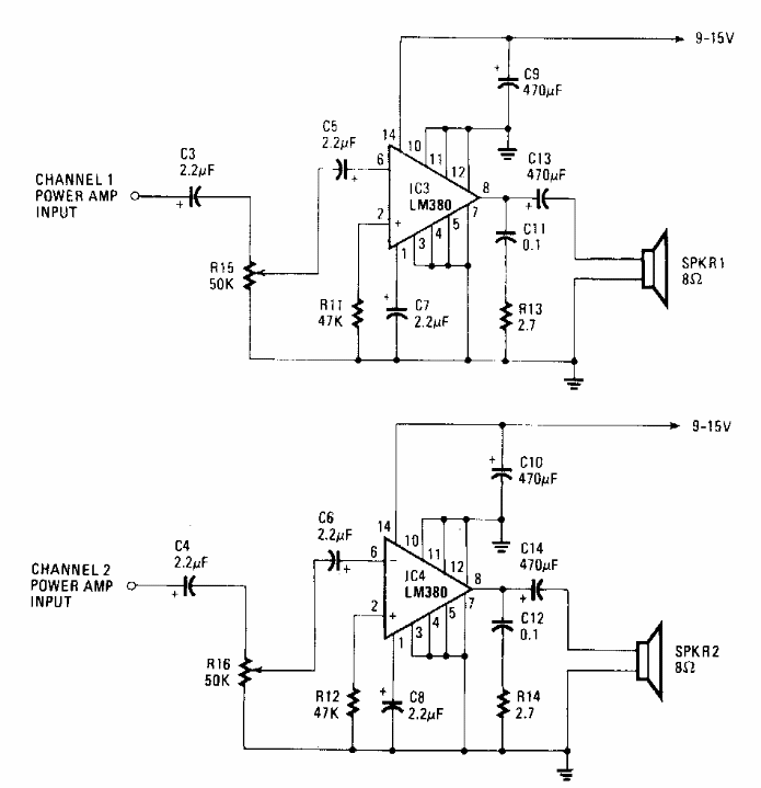
Este circuito foi publicado numa Radio Electronics dos anos 90. O circuito usa o bem conhecido LM386 que aparece numa grande quantidade de projetos deste site.