Fonte de 5 V tripla para Numitron CIR15701S CB8673E (CIR18665)
Detalhes
Escrito por: Newton C. Braga
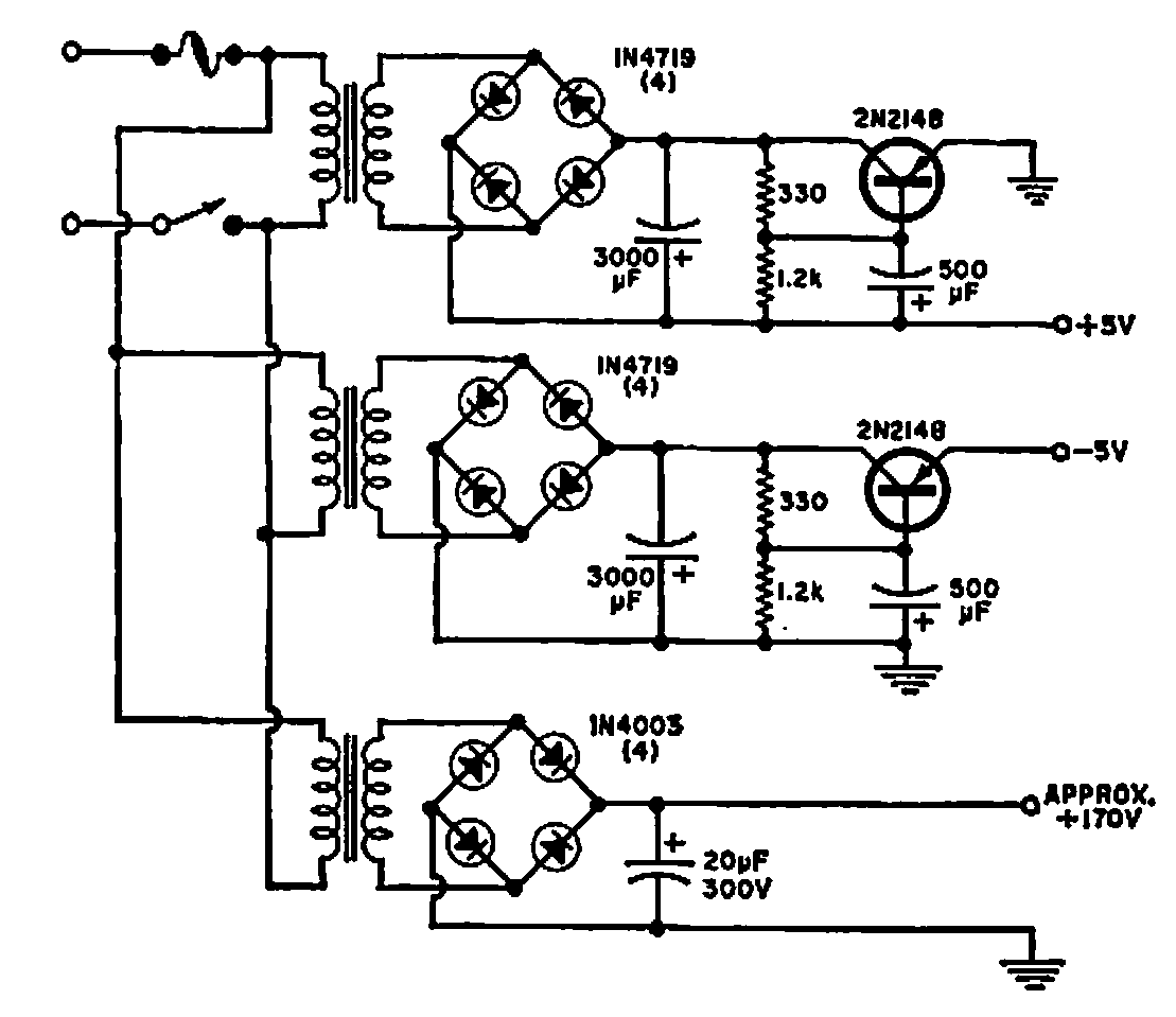
Esta fonte de uma Electronics World de 1969 tem 5 V para alimentar circuitos digitais e uma saída de 170 V para válvulas indicadoras Numitron usadas na época.