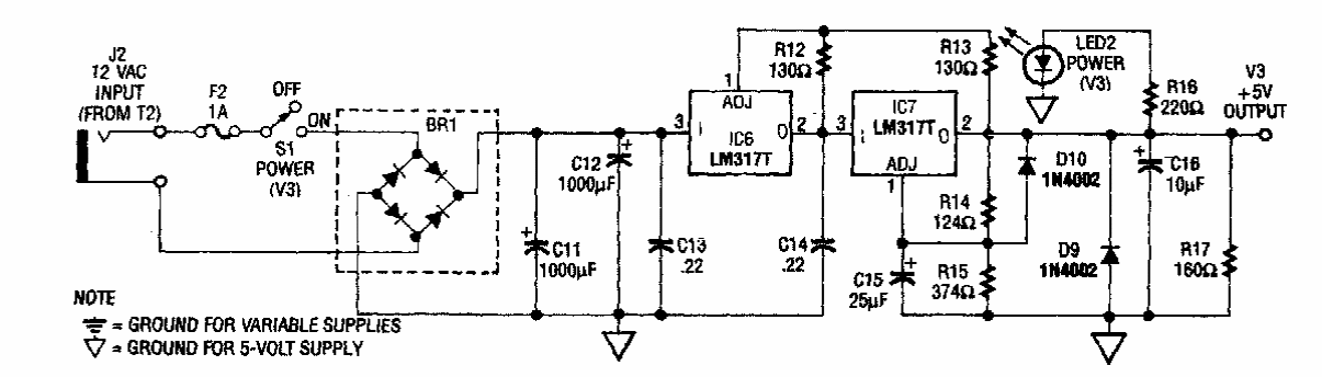
Este circuito foi encontrado numa Electronics Now dos anos 90. A corrente máxima é de 1,5 A, dada pelos reguladores. Os reguladores devem ser dotados de dissipadores de calor.

 


| Clique na imagem para ampliar |

 

 

 

NO YOUTUBE


NOSSO PODCAST