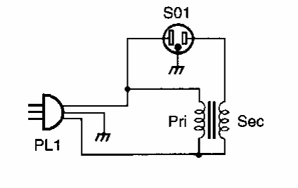
Este circuito acrescenta a tensão do secundário de um transformador a uma tomada ligada à rede de energia. A potência máxima na saída depende do transformador usado. O circuito é de uma Popular Electronics dos anos 90.

Este circuito acrescenta a tensão do secundário de um transformador a uma tomada ligada à rede de energia. A potência máxima na saída depende do transformador usado. O circuito é de uma Popular Electronics dos anos 90.
