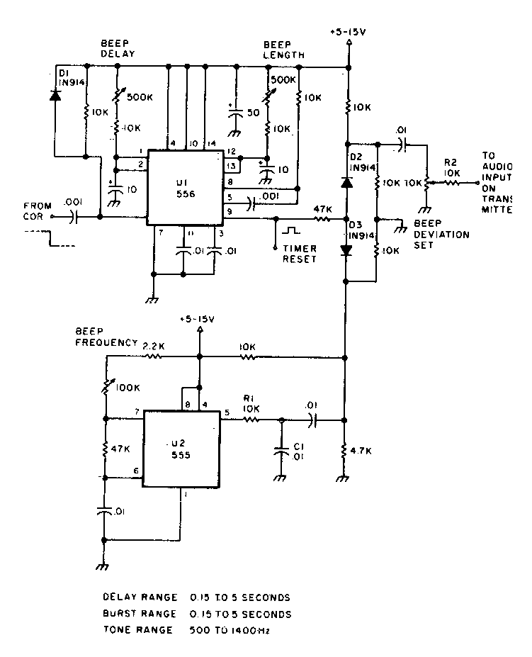
Este circuito foi encontrado em documentação para radioamadores dos anos 80. Trata-se do denominado rooger-beep que é o bip que se transmite quando se troca a função falar-ouvir.

 


| Clique na imagem para ampliar |

 

 

 

NO YOUTUBE


NOSSO PODCAST